
服務價:¥電議
好評系數:
 眾所周知,醫療器械在我國實行注冊管理制度,以三類醫療器械產品注冊管理等級最為嚴格。自然三類醫療器械注冊申報周期和申報資料要求也最為長久、困難,思途提供國產三類醫療器械注冊證首次注冊代辦服務,還在因距離遠、流程不熟、關系打點不清有所顧慮的生產企業,不妨找我們代辦。為您簡單介紹三類器械注冊證辦理流程周期:
1、醫療器械注冊申請表:醫療器械注冊申請表是注冊申請的重要資料之一,表內各項應符合填寫說明要求。
2、醫療器械生產企業資格證明。
	  (1)生產企業許可證副本及營業執照副本的復印件,并加蓋證書所屬企業公章;
	  (2)所申請產品應當在生產企業許可證核定的生產范圍之內;
	  (3)在有效期內。
3、產品技術報告:應加蓋生產企業公章。
4、安全風險分析報告:應加蓋生產企業公章。
5、適用的產品標準及說明:
	  (1)標準文本,應加蓋生產企業公章;
	  (2)編制說明(適用于注冊產品標準);
	  (3)申報產品應包含在產品標準范圍內;
	  (4)采用國家標準、行業標準作為產品的適用標準的:
	  ①生產企業應當提供所申請產品符合國家標準、行業標準的聲明,并加蓋生產企業公章;
	  ②生產企業承擔產品上市后的質量責任的聲明,并加蓋生產企業公章;
	  ③生產企業有關產品型號、規格劃分的說明,并加蓋生產企業公章。
6、產品性能自測報告:
	  (1)應當有主檢人或主檢負責人、審核人簽字,并加蓋生產企業公章;
	  (2)執行國家標準、行業標準的,生產企業應當補充自定的出廠檢測項目,并加蓋生產企業公章。
7、醫療器械檢測機構出具的產品注冊檢測報告:
	  (1)所檢產品的規格型號應在本次注冊申請范圍內;
	  (2)檢測類型應為注冊檢測或全性能國家監督抽查檢測;
	  (3)原件;
	  (4)在有效期內(執行《辦法》附件3第7條)。
	  注:執行《辦法》第十一條、第十二條、第十三條的規定的,生產企業應當提供相應的說明文件,并加蓋生產企業公章。
8、醫療器械臨床試驗資料:
	  (1)生產企業應當在兩家以上(含兩家)“醫療器械臨床試驗機構”進行臨床試驗;
	  (2)其臨床試驗資料中應當包括臨床試驗合同、臨床試驗方案、臨床試驗報告:
	  ①臨床試驗合同應有承擔臨床試驗的醫療機構及實施者簽字并蓋章;
	  ②臨床試驗方案應有倫理委員會、承擔臨床試驗的醫療機構及實施者蓋章;
	  ③臨床試驗報告應有臨床試驗負責人及臨床試驗人員簽字并由試驗主管部門蓋章確認。
9、醫療器械說明書:應提供說明書并加蓋生產企業公章;省略說明書的,應由生產企業出具說明文件,并加蓋生產企業公章。
10、產品生產質量體系考核(認證)的有效證明文件——根據對不同產品的要求,提供相應的質量體系考核報告。
	  (1)省、自治區、直轄市藥監管理部門簽章;若為醫療器械質量體系認證證書可以提供復印件,但應加蓋證書所屬企業公章;
	  (2)在有效期內;
	  (3)體系涵蓋申報產品。
11、所提交材料真實性的自我保證聲明:
	  (1)所提交材料的清單;
	  (2)生產企業承擔法律責任的承諾;
	  (3)加蓋生產企業公章。
12、申請資料(重點是臨床試驗報告)和樣品生產過程的真實性核查報告。
各省(區、市)食品藥品監督管理部門在質量管理體系考核過程中,要對生產企業擬提交的第三類醫療器械首次注冊申請資料(重點是臨床試驗報告)和樣品生產過程的真實性組織核查。生產企業在提出體系考核申請時,應當同時遞交相關資料。對承擔臨床試驗的醫療機構不在生產企業所在省(區、市)轄區內的,生產企業所在地的省(區、市)食品藥品監督管理部門可以委托承擔臨床試驗的醫療機構所在地的省(區、市)食品藥品監督管理部門組織核查,并出具核查意見。國家食品藥品監督管理局根據需要對第三類醫療器械首次注冊申請資料真實性的核查情況進行抽查。


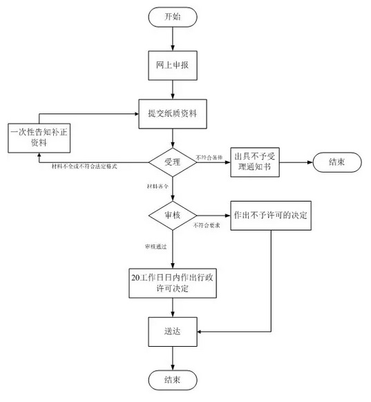
1、申請:申請人向國家食品藥品監督管理總局行政受理服務大廳提出申請。
2、受理:受理人員根據申報事項按照相關法律法規的要求對申報資料進行形式審查。申請事項屬于本部門職權范圍,申報資料齊全、符合形式審查要求的,予以受理;申報資料存在可以當場更正的錯誤的,允許申請人當場更正;申報資料不齊全或者不符合形式審查要求的,在5個工作日內一次告知申請人需要補正的全部內容,逾期不告知的,自收到申報資料之日起即為受理;申請事項不屬于本部門職權范圍的,即時告知申請人不予受理。
3、審查:受理人員自受理之日起3個工作日內將申報資料轉交技術審評機構,技術審評機構應當在90個工作日內完成第三類醫療器械注冊的技術審評工作。如果需要外聘專家審評或藥械組合產品需與藥品審評機構聯合審評的,那么所需時間不計算在內,技術審評機構應當將所需時間書面告知申請人。此外,質量管理體系核查的時間和申請人補充資料的時間,也不計算在審評時限內。
4、許可決定:國家食品藥品監督管理總局應當在技術審評結束后20個工作日內作出決定,對符合安全、有效要求的,準予注冊。對不予注冊的,應當書面說明理由,并同時告知申請人享有申請復審和依法申請行政復議或者提起行政訴訟的權利。
5、送達:自作出審批決定之日起10個工作日內,總局行政事項受理服務和投訴舉報中心將行政許可決定送達申請人。
國家食品藥品監督管理總局令第4號《醫療器械注冊管理辦法》第三十三條:受理注冊申請的食品藥品監督管理部門應當自受理之日起3個工作日內將申報資料轉交技術審評機構。技術審評機構應當在90個工作日內完成第三類醫療器械注冊的技術審評工作。補充資料的時間不計入審查時限。
國家食品藥品監督管理總局令第4號《醫療器械注冊管理辦法》第三十五條:申請人應當在1年內按照補正通知的要求一次提供補充資料;技術審評機構應當自收到補充資料之日起60個工作日內完成技術審評。申請人補充資料的時間不計算在審評時限內。
1、3個型號的有源產品,產品在國家局注冊,只有1個EMC報告,能夠受理嗎?立卷審查后的受理,這樣也可以,是嗎?
	  答:你說的情況我們經歷過,是可以受理的,但是發補的時候要你補檢其它型號的EMC。
2、三類有源醫療器械,產品技術要求的附錄要寫EMC的相關內容嗎?附錄只需寫一句電磁兼容的分組分類就行了吧?
	  答:二類有源是要寫的,技術要求不需要的,寫一條符合0505有專標寫上專標條款即可。
3、三類產品注冊體系核查申報資料,從哪個網站上傳?是提交給省局,還是提交給國家局?
	  答:省局

| 主管部門 | 管理類別 | 首次注冊 | 變更注冊 (許可事項變更)  | 延續注冊 (五年一次)  | 臨床試驗申請費 (高風險醫療器械)  | 相關文件 | 實施日期 | ||
|---|---|---|---|---|---|---|---|---|---|
| 國家局 | 境內 | Ⅲ | 15.36 | 5.04 | 4.08 | 4.32 | 局令15年53號 | 2015/5/27 | |
| 文件名稱 | 文號 | 
|---|---|
| 《醫療器械監督管理條例》 | 680號文件 | 
| 《醫療器械注冊管理辦法》 | 局令4號 | 
| 《醫療器械生產監督管理辦法》 | 局令7號 | 
注冊資料準備階段
	  注冊資料準備、匯編,預計20個工作日。(器械產品檢測由客戶自行送檢)
臨床階段
	  如需臨床預計6個月以上至1年左右,視產品情況有所變化。
申報注冊階段
	  申報注冊全過程大概10個月(188工日,20工日/月,不計節假),體考時間(并行),不含整改、資料發補耗時。
	  發補時限0~12個月,考慮平均時間6個月。視產品首次申報資料情況而定。
	  體系考核:在受理后10工作日內申請體系考核。1個月內完成體系考核。考核及整改不通過,即退審。
	  體系整改:根據體系考核整改程度,分為
	  (a)1個月整改期,結束后繼續一次審評階段。
	  (b)6個月整改期,結束后進入二次審評階段。
	  體系考核、體系整改時間與技術審評階段并行。
正常周期合計
	  不含臨床下證周期,約18個月左右。
	  含臨床下證周期,約在18個月-36個月左右,甚至更長。
思途周期合計
	  不含臨床周期,約14個月左右下證。
	  含臨床周期,約在16個月-25個月左右下證。(視具體產品而定)
| 注冊資料準備匯編服務 | 注冊資料遞交服務 | 
| 注冊資料發補整改服務 | 延伸:三類醫療器械注冊證延續服務 | 
| 延伸:醫療器械臨床試驗服務 | 延伸:GMP體系建立輔導服務(含現場輔助審核) | 

立即咨詢
 最新文章
 2025-09-16
 2025-09-16
 2025-09-16
 2025-09-16
 2025-09-16八年
醫療器械服務經驗
聯系思途,免費獲得專屬《落地解決方案》及報價
咨詢相關問題或咨詢報價,可以直接與我們聯系
思途CRO——醫療器械注冊臨床第三方平臺
