長江三角洲區域醫療器械注冊人制度試點工作實施方案(試行)(滬藥監械管〔2019〕112號)
為深入貫徹落實中共中央辦公廳、國務院辦公廳印發的《關于深化審評審批制度改革鼓勵藥品醫療器械創新的意見》(廳字〔2017〕42號),按照國家藥品監督管理局《關于擴大醫療器械
來源:醫療器械注冊代辦 發布日期:2020-06-17 閱讀量:次
附件:熱濕交換器注冊技術審查指導原則(2020年第39號).doc
本指導原則旨在為申請人進行熱濕交換器(HME)產品注冊申報提供技術指導,同時也為藥品監督管理部門對注冊申報資料的審評提供技術參考。
本指導原則是對熱濕交換器產品注冊申報資料的一般要求,申請人應依據具體產品的特性對注冊申報資料的內容進行充實和細化,并依據具體產品的特性確定其中的具體內容是否適用,若不適用,需具體闡述其理由及相應的科學依據。

本指導原則是對申請人和審評人員的指導性文件,但不包括注冊審批所涉及的行政事項,亦不作為法規強制執行,如果有能夠滿足相關法規要求的其他方法,也可以采用,但是需要提供詳細的研究資料和驗證資料。應在遵循相關法規和標準的前提下使用本指導原則。
本指導原則是在現行法規和標準體系以及當前認知水平下制定的,隨著法規和標準的不斷完善,以及科學技術的不斷發展,本指導原則相關內容也將進行適時的調整。
本指導原則適用于《醫療器械分類目錄》(國家食品藥品監督管理總局公告2017第104號)中管理類別為Ⅱ類的熱濕交換器,分類編碼為08-05-04(呼吸、麻醉和急救器械-呼吸、麻醉、急救設備輔助裝置-熱濕交換器)。通常由儲水儲熱材料和殼體組成,包括一個進氣口和一個出氣口,通過保留患者呼氣中部分水分和熱量,并在吸氣過程中將其返回到呼吸道的器械。用于提高輸送給呼吸道的氣體中的水分含量和溫度。
(一)產品名稱要求
產品名稱應符合《醫療器械通用名稱命名規則》(國家食品藥品監督管理總局令第19號)的要求,可采用相關國家標準、行業標準上的通用名稱,或以產品結構和適用范圍為依據命名。如熱濕交換器、熱濕交換過濾器。根據產品一次性使用或者滅菌情況,產品名稱中可帶有“一次性使用”或“無菌”字樣。
(二)產品的結構和組成
產品通常由外殼、濾芯(如有)、熱濕交換介質和接口等組成。

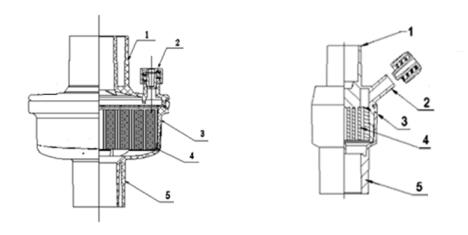
圖1
1-機器端口;2-輔助端口;3-外殼;4-熱濕交換介質;5-患者端口

圖2
1-患者端口;2-外殼;3-熱濕交換介質;4 -機器端口

圖3
1-患者端口;2-外殼;3-熱濕交換介質;4-輔助端口
(三)產品工作原理
熱濕交換器是一種保溫保濕氣道管理工具,可以將病人呼出氣體中的熱量和水分部分地儲存起來,再利用這些熱量和水分對新進入的氣體進行加溫及濕化。
呼氣時,來自病人的溫濕氣體進入熱濕交換器的內側面,濕氣凝結,同時釋放的熱量在熱濕交換介質中得以保存。吸氣時,外部干燥的氣體進入熱濕交換器,在熱濕交換器內得到濕化和溫熱,然后進入肺內,如此往復循環,不斷利用呼氣中的熱度和濕度來溫熱和濕化吸入的氣體。
產品如聲稱具有過濾功能,應說明過濾作用(如過濾微粒、細菌及病毒過濾等)及其原理。
(四)注冊單元劃分的原則
注冊單元劃分參照《總局關于發布醫療器械注冊單元劃分指導原則的通告》(2017年第187號),著重考慮產品的技術原理、結構組成、性能指標、適用范圍等因素。
(五)產品適用的相關標準
表1 相關產品標準
| 標準編號 | 標準名稱 |
| GB/T 191-2008 | 《包裝儲運圖示標志》 |
| GB/T 1962.1-2015 | 《注射器、注射針及其他醫療器械用6%(魯爾)圓錐接頭 第1部分:通用要求》 |
| GB/T 2828.1-2012 | 《計數抽樣檢驗程序 第1部分:按接收質量限(AQL)檢索的逐批檢驗抽樣計劃》 |
| GB/T 14233.1-2008 | 《醫用輸液、輸血、注射器具檢驗方法 第1部分:化學分析方法》 |
| GB/T 14233.2-2005 | 《醫用輸液、輸血、注射器具檢驗方法 第2部分:生物學試驗方法》 |
| GB/T 16886.1-2011 | 《醫療器械生物學評價 第1部分:風險管理過程中的評價與試驗》 |
| GB/T 16886.5-2017 | 《醫療器械生物學評價 第5部分:體外細胞毒性試驗》 |
| GB/T 16886.7-2015 | 《醫療器械生物學評價 第7部分:環氧乙烷滅菌殘留量》 |
| GB/T 16886.10-2017 | 《醫療器械生物學評價 第10部分:刺激與皮膚致敏試驗》 |
| YY/T 0313-2014 | 《醫用高分子產品 包裝和制造商提供信息的要求》 |
| YY/T 0466.1-2016 | 《醫療器械 用于醫療器械標簽、標記和提供信息的符號 第1部分:通用要求》 |
| YY/T 0735.1-2009 | 《麻醉和呼吸設備 濕化人體呼吸氣體的熱濕交換器(HME) 第1部分:用于最小潮氣量為250mL的HME》 |
| YY/T 0735.2-2010 | 《麻醉和呼吸設備 用于加濕人體呼吸氣體的熱濕交換器(HMEs) 第2部分:用于氣管切開術患者的250mL以上潮氣量的HMEs》 |
| YY/T 1040.1-2015 | 《麻醉和呼吸設備 圓錐接頭 第1部分:錐頭與錐套》 |
| YY/T 1040.2-2008 | 《麻醉和呼吸設備 圓錐接頭 第2部分:螺紋承重接頭》 |
注:本指導原則中標準適用最新版本,下同。聲稱產品具有過濾功能的,應選用相應適用的標準。
上述標準包括了注冊產品技術要求中通常涉及到的標準。企業可根據產品的特點引用其他適用的國家、行業標準。
產品適用及引用標準的審查可以分兩步來進行。首先對引用標準的齊全性和適宜性進行審查,也就是在編寫產品技術要求時是否引用了與產品相關的國家標準、行業標準,以及引用是否準確??梢酝ㄟ^查閱其提交的研究資料,對是否引用了相關標準,以及所引用的標準是否適宜來進行審查。此時,應注意標準編號、標準名稱是否完整規范,年代號是否有效。
其次對引用標準的采納情況進行審查。即所引用的標準中的條款要求,是否在產品技術要求中進行了實質性的條款引用。這種引用通常采用兩種方式,文字表述繁多內容復雜的可以直接引用標準及條文號,比較簡單的也可以直接引述具體要求。
如有新版強制性國家標準、行業標準發布實施,產品性能指標等要求應執行最新版本的國家標準、行業標準。
(六)產品的適用范圍/禁忌癥
熱濕交換器用于提高輸送給呼吸道的氣體中的水分含量和溫度。
禁忌癥:
1.呼吸道有大量泡沫或黏稠分泌物、脫水、咳血癥或呼吸道損傷的病人禁用。
2.對于嚴重肺功能不全等不能耐受通路阻力增加者禁用。
3.對本產品材料過敏者禁用。
(七)產品的主要風險
1.風險分析方法
1.1在對風險的判定及分析中,要考慮合理的可預見的情況,它們包括:正常使用條件下;非正常使用條件下;
1.2風險判定及分析應包括:對于患者的危險(源);對于操作者的危險(源);對于環境的危險(源);
1.3風險形成的初始原因應包括:人為因素包括不合理的操作;產品結構、原材料、綜合危險(源);環境條件;
1.4風險判定及分析考慮的問題包括:產品原材料生物學危險(源);產品質量是否會導致使用中出現不正常結果;操作信息,包括警示性語言、注意事項以及使用方法的準確性;使用可能存在的危險(源)等。
2.風險分析清單
熱濕交換器產品的風險管理報告應符合YY/T 0316-2016《醫療器械風險管理對醫療器械的應用》的有關要求,審查要點包括:
2.1產品安全性特征判定是否準確(依據YY/T 0316-2016附錄C);
2.2危險(源)分析是否全面(依據YY/T 0316-2016附錄E);
2.3風險可接收準則,降低風險的措施及采取措施后風險的可接收程度,是否有新的風險產生。
根據YY/T 0316-2016《醫療器械 風險管理對醫療器械的應用》附錄E對“熱濕交換器產品”已知或可預見的風險進行判定,產品在進行風險分析時至少應包括以下的主要危險(源),企業還應根據自身產品特點確定其他危險(源)。針對產品的各項風險,企業應采取應對措施,確保風險降到可接受的程度。
表2 產品主要危險(源)
| 危險(源)的分類 | 危險(源)的形成因素 | 可能的后果 | |
| 生物學危險(源) | 生物污染 | 生產環境控制不好。滅菌操作不嚴格。包裝破損。使用時操作不正規。 | 產品帶菌,引起患者使用時感染。 |
| 生物不相容性 | 增塑劑、加工助劑、 環氧乙烷殘留量超標 | 產生細胞毒性、致敏反應、急性或慢性毒性。 | |
| 不正確的配方(化學成分) | 未按照工藝要求配料。小分子物質殘留量過大。 | 造成毒性危害。 | |
| 加工工藝 | 加工工藝控制不嚴格,后處理工藝控制不嚴格。 | 引入有害物質,引起患者感染或造成毒性危害。 | |
| 再感染和/或交叉感染 | 使用不當、標識不清。 | 引起局部或者交叉感染。 | |
| 環境危險(源) | 儲存或運行偏離預定的環境條件 | 儲運條件(如溫度、濕度)不符合要求。 | 產品老化。 無菌有效期縮短。 |
| 意外的機械破壞 | 儲運、使用過程中發生意外的機械性破壞。 | 產品使用性能無法得到保證。 | |
| 由于廢物和/或醫療器械處置的污染 | 使用后的產品沒有按照要求集中銷毀。 | 造成環境污染或者細菌的交叉感染。 | |
| 與醫療器械使用有關的危險(源) | 不適當的標記 | 標記不清晰、錯誤、 沒有按照要求進行標記。 | 錯誤使用。 儲存錯誤。 產品辨別錯誤。 |
| 不適當的操作說明,如: 與其他器械配合使用不適當;偏離使用說明;說明書關于使用說明不全面 | 包裝破損無法識別。 操作要點不突出。 | 無法保證使用安全性。 導致操作失誤。 | |
| 由不熟練/未經培訓的人員使用 | 操作不熟練、操作失誤。 | 導致延誤或不正確治療。 | |
| 合理可預見的誤用 | 規格型號選用錯誤。 | 導致無法達到滿意的效果。 | |
| 對一次性使用醫療器械很可能再次使用的危險(源)警告不適當 | 造成重復使用。 | 交叉感染。 | |
| 不適當不合適或過于復雜的使用者接口 | 違反或縮減說明書、程序等 | 操作方法、注意事項、儲存方法、警示事項等表述不清。 | 重復使用引起感染。 沒有集中銷毀造成環境污染等。 |
| 功能性失效、老化引起的危險(源) | 對醫療器械壽命終止缺少適當的決定 | 沒有標識產品有效期。 | 超出滅菌有效期的產品被使用,造成細菌感染。 |
| 不適當的包裝(醫療器械的污染和/或變質) | 沒有進行包裝確認。 | 不能確保產品無菌,從而導致出現細菌感染。 | |
| 再次使用和/或不適當的再次使用 | 產品標識沒有明確只限一次性使用。 | 出現細菌感染、交叉感染以及粘膜損傷等現象。 | |
(八)產品的研究要求
1.產品性能研究
應詳述產品技術要求中主要性能指標及檢驗方法的確定依據,提供采用的原因及理論基礎,提供涉及的研究性資料、文獻資料和標準文本。如適用的國家標準、行業標準中有不采納的條款,應將不采納的條款及其理由予以闡明。
應研究的產品基本性能至少包括YY/T 0735.1-2009或YY/T 0735.2-2010規定的性能。
對于聲稱產品具有過濾功能的,企業應提出相應安全性、有效性的要求。
潮氣量小于250mL的熱濕交換器,申請人應確定評價方法或者參考YY/T 0735.1-2009或YY/T 0735.2-2010,并調整試驗參數。
2.生物相容性研究
應描述熱濕交換器與人體間接接觸部件的材料,以及接觸的性質和時間,參照《關于印發醫療器械生物學評價和審評指南的通知》(國食藥監械〔2007〕345號)、GB/T 16886.1-2011《醫療器械生物學評價 第1部分:風險管理過程中的評價與試驗》的要求對其進行生物相容性評價。
3.滅菌工藝及潔凈控制工藝研究
3.1按GB 18278.1-2015《醫療保健品滅菌 濕熱 第1部分:醫療器械滅菌過程的開發、確認和常規控制要求》、GB 18279.1-2015《醫療保健產品滅菌 環氧乙烷 第1部分:醫療器械滅菌過程的開發、確認和常規控制的要求》、GB/T 18279.2-2015《醫療保健產品的滅菌 環氧乙烷 第2部分:GB 18279.1應用指南》、GB 18280.1-2015《醫療器械保健產品滅菌 輻射 第1部分:醫療器械滅菌過程的開發、確認和常規控制要求》、GB 18280.2-2015《醫療保健產品滅菌 輻射 第2部分:建立滅菌劑量》、GB/T 18280.3-2015《醫療保健產品滅菌 輻射 第3部分:劑量測量指南》、GB 18281.2-2015《醫療保健產品滅菌 生物指示物 第2部分:環氧乙烷滅菌用生物指示物》、GB/T 19633.1-2015《最終滅菌醫療器械包裝 第1部分:材料、無菌屏障系統和包裝系統的要求》、GB/T 19633.2-2015《最終滅菌醫療器械包裝 第2部分:成形、密封和裝配過程確認的要求》、YY/T 1267-2015《適用于環氧乙烷滅菌的醫療器械的材料評價》或者適用其他滅菌方式材料評價的標準、YY/T 0698系列標準等要求提交滅菌研究資料。
如果滅菌方式會導致有害物質殘留,應進行相關評價。如熱濕交換介質等易吸附環氧乙烷,環氧乙烷殘留量超標會產生相應危害。
3.2潔凈供應的熱濕交換器微生物限度、環境及管理要求及檢查方法可結合申報產品的危險性程度和臨床使用最不利情況參照GB 15982-2012《醫院消毒衛生標準》及《中華人民共和國藥典》提交研究資料。
4.效期和包裝研究
4.1產品有效期和包裝研究情況可通過實時老化或加速老化試驗獲得。加速老化試驗可參照YY/T 0681和YY/T 0698系列標準、GB/T 19633.1-2015《最終滅菌醫療器械包裝 第1部分:材料、無菌屏障系統和包裝系統的要求》、GB/T 19633.2-2015《最終滅菌醫療器械包裝 第2部分:成形、密封和裝配過程的確認的要求》。使用的包裝材料為醫用級別。
4.2申請人應提交包裝研究資料,依據有關國內、國際標準進行(如GB/T 19633.1、GB/T 19633.2、ISO 11607、ASTM F2475、ASTM D4169等)對包裝進行分析研究和評價。直接接觸產品的包裝材料的選擇應至少考慮以下因素:包裝材料的物理化學性能;包裝材料的毒理學特性;包裝材料與產品的適應性;包裝材料與成型和密封過程的適應性;包裝材料與滅菌或潔凈控制過程的適應性;包裝材料所能提供的物理、化學和微生物屏障保護;包裝材料與使用者使用時的要求(如無菌開啟)的適應性;包裝材料與標簽系統的適應性;包裝材料與貯存運輸過程的適應性。
(九)產品技術要求的主要性能指標
擬定產品技術要求應符合《醫療器械注冊管理辦法》和《醫療器械注冊申報資料要求和批準證明文件格式》(國家食品藥品監督管理總局公告2014年第43號)的相關規定,按照《醫療器械產品技術要求編寫指導原則》(國家食品藥品監督管理總局通告2014年第9號)要求編寫。
本條款給出熱濕交換器的產品基本技術性能指標,但并未給出定量要求,企業可參考相應的國家標準、行業標準,如YY/T 0735.1-2009《麻醉和呼吸設備 濕化人體呼吸氣體的熱濕交換器(HME) 第1部分:用于最小潮氣量為250mL的HME》、YY/T 0735.2-2010《麻醉和呼吸設備 用于加濕人體呼吸氣體的熱濕交換器(HMEs) 第2部分:用于氣管切開術患者的250mL以上潮氣量的HMEs》,根據企業自身產品的技術特點制定相應的技術要求。產品技術要求不得低于YY/T 0735.1-2009、YY/T 0735.2-2010等適用的相應國家/行業標準要求。
1.物理性能
一般應包括熱濕交換器患者端口接頭、附加端口(呼吸輔助裝置的接頭/呼吸附件接頭、輔助端口)、水分損失(不同潮氣量的水分損失應予以評價)、壓降、氣體泄漏、順應性、外觀等。其中氣體泄漏、順應性不適用于連接氣管切開插管的熱濕交換器。
2.化學性能
根據不同材料特性,由企業對化學性能提出要求。用環氧乙烷滅菌的產品應規定環氧乙烷殘留量的要求。
3.微生物要求
若以無菌形式提供,應進行無菌檢驗。
非無菌供應一次性使用的產品,若產品使用前不需要進行消毒、滅菌處理,應對其微生物限度進行評價,同時可參考《中華人民共和國藥典》中微生物限度檢查法進行檢測。
4.若產品包含其他附加功能(如過濾性能),應結合產品功能、結構制定相關性能要求。
(十)同一注冊單元內注冊檢驗典型性產品確定原則
1.同一注冊單元中的典型產品是指能夠代表本注冊單元內其他產品安全性和有效性的產品。其功能最齊全、結構最復雜、風險最高。
2.典型產品的確定可以通過比較同一注冊單元內所有產品的技術結構、性能指標和預期用途等相應資料,說明其能夠代表本注冊單元內其他產品的安全性和有效性。若一個型號不能覆蓋,除選擇典型型號進行全性能檢驗外,還應選擇其他型號進行差異性檢驗。不同材料的熱濕交換介質、不同型號規格(成人、兒童等)需要差異性檢驗。
同一規格型號的產品檢驗時“水分損失”、“壓降”應覆蓋不同潮氣量、氣體流量。
(十一)產品生產制造相關要求
1.應提供原材料質控信息,包括但不限于:原材料來源、供應商信息、原材料規范化學名稱/牌號、安全性數據/化學品安全說明書、原材料符合標準/藥典/醫用級證明、成分分析報告/檢驗報告/接受準則。
2.應當明確熱濕交換器生產工藝流程,注明關鍵工序和特殊過程,并說明其過程控制點。
3.有多個研制、生產場地,應當概述每個研制、生產場地的實際情況,相關的生產環境應符合《醫療器械生產質量管理規范》(國家食品藥品監督管理總局公告2014年第64號)的相關要求。
4.詳細說明產品生產工藝過程及其確定的依據、質量控制標準及其可靠性論證;確認關鍵工藝點并闡明其對產品物理性能、化學性能、生物性能的影響;確認生產工藝的穩定性。
5.對生產加工過程中所使用的所有輔劑、助劑、粘合劑等添加劑均應說明使用劑量,提交對殘留量、可揮發物質總量的控制措施和接受標準以及安全性驗證報告。例如鄰苯二甲酸酯等應有限量要求。
(十二)產品的臨床評價要求
按照《醫療器械臨床評價技術指導原則》(國家食品藥品監督管理總局通告2015年第14號)及《醫療器械注冊管理辦法》(國家食品藥品監督管理總局令第4號)提交臨床評價資料。
與《免于進行臨床試驗醫療器械目錄》(國家藥品監督管理局通告2018年第94號,以下簡稱《目錄》)中,序號為345“一次性使用熱濕交換器/過濾器”相同的產品可免于進行臨床試驗。申請人需提交申報產品相關信息與《目錄》所述內容的對比資料和申報產品與已獲準境內注冊的《目錄》中醫療器械的對比說明。
若無法證明申報產品與《目錄》產品具有等同性,則應按照《醫療器械臨床評價技術審查指導原則》其他路徑開展相應工作,提供符合要求的臨床評價資料。
(十三)產品的不良事件歷史記錄
企業應提供相關信息。
(十四)產品說明書和標簽要求
產品說明書、標簽和包裝標識的編寫要求應符合《醫療器械說明書和標簽管理規定》(國家食品藥品監督管理總局令第6號)和YY/T 0466.1-2016《醫療器械用于醫療器械標簽、標記和提供信息的符號 第1部分:通用要求》的要求。同時應注意以下要求:
1.使用前,應檢查產品是否完好,如有破損禁止使用。
2.打開包裝,檢查包裝內器械是否完好無損。
3.將本產品病人端與通氣類器械連接,另一端連接呼吸管路(連接氣管切開插管的熱濕交換器用于完全自主呼吸患者,不用連接呼吸設備),盡量靠近患者。
4.具有吸痰孔的連接氣管切開插管的熱濕交換器可通過吸痰孔進行定期吸痰。
5.廢棄產品應根據醫院或當地衛生主管部門的相關規定,由有資質或經授權的機構進行無害化處理。
6.僅限專業人員使用,使用時嚴格按照操作規程要求進行。
7.使用過程中應加強呼吸道管理和監測,監測呼吸節律、頻率、血氧飽和度及心率,警惕缺氧和窒息表現。出現異常時,應檢查熱濕交換器是否通暢,阻塞時應及時更換,或根據病人病情依照醫院制定的應急預案進行處理。
8.使用過程中還需密切關注患者呼吸道情況,一旦發現痰液黏稠或結痂的情況,就要采取主動加濕或其他措施。
9.預期與呼吸管路、吸痰管、吸氧管等配合使用,必須保證配合使用的器械滿足標準接口要求。
10.使用無氣囊的氣管插管或氣管切開插管,插管周圍有漏氣現象會降低加濕效果。
11.切勿給熱濕交換器添加水分。
12.防止壓降不可接受的增加。
13.使用過程中壓降會發生變化,連接氣管切開插管的熱濕交換器通氧量會發生變化。
14.如產品中含有鄰苯二甲酸酯,應提示對兒童的風險,包括處于妊娠中的嬰兒或哺乳期女性。
15.提供的信息可包括接頭標準、重量、內部容積、最長推薦使用時間,其他信息可參照YY/T0735.1或者YY/T0735.2第7章的要求。
16.如發生過敏,應立即停止使用,并及時采取相應的處置措施。
(一)重點關注產品技術要求編寫的規范性,引用標準的適用性、準確性、有效性,是否結合產品的結構制定相應的性能指標。性能指標的確定能否滿足產品的安全有效。
?。ǘ┲攸c關注注冊申請人的產品研究資料是否全面、準確,是否體現其安全性、有效性。
(三)臨床評價資料是否符合《醫療器械臨床評價技術指導原則》的要求。
(四)產品檢驗報告:應關注檢測的典型型號是否覆蓋所有性能要求,檢驗報告所附照片中的產品結構組成、標識標簽等信息,是否與其他申報資料描述相同。
(五)該產品若采用環氧乙烷滅菌,關注環氧乙烷殘留量。
?。┤袈暦Q產品具有過濾功能,產品技術要求中應制定相關性能要求。
河北省醫療器械與藥品包裝材料檢驗研究院
參與單位:
廣東省食品藥品監督管理局審評認證中心
河南省食品藥品審評查驗中心
內蒙古自治區食品藥品審評查驗中心

站點聲明
本網站所提供的信息僅供參考之用,并不代表本網贊同其觀點,也不代表本網對其真實性負責。圖片版權歸原作者所有,如有侵權請聯系我們,我們立刻刪除。如有關于作品內容、版權或其它問題請于作品發表后的30日內與本站聯系,本網將迅速給您回應并做相關處理。
鄭州思途醫療科技有限公司專注于醫療器械產品政策與法規規事務服務,提供產品注冊備案申報代理、臨床試驗、體系建立輔導、分類界定、申請創新辦理服務。
為深入貫徹落實中共中央辦公廳、國務院辦公廳印發的《關于深化審評審批制度改革鼓勵藥品醫療器械創新的意見》(廳字〔2017〕42號),按照國家藥品監督管理局《關于擴大醫療器械
《海南博鰲樂城國際醫療旅游先行區臨床急需進口藥品帶離先行區使用管理暫行辦法》已經3月24日海南博鰲樂城國際醫療旅游先行區領導小組會議審議通過,現印發給你們,請遵照執行
《海南博鰲樂城國際醫療旅游先行區醫療機構制劑調劑使用管理暫行辦法》已經3月24日海南博鰲樂城國際醫療旅游先行區領導小組會議審議通過,現印發給你們,請遵照執行。
為規范醫療器械注冊人跨區域委托生產的監督管理,推進長江三角洲區域醫療器械跨區域監管,根據《中共中央辦公廳國務院辦公廳關于深化審評審批制度改革鼓勵藥品醫療器械創新的意見》《
附件:血液透析用水處理設備注冊審查指導原則(2024年修訂版)(2024年第19號).doc血液透析用水處理設備注冊審查指導原則(2024年修訂版)本指導原則旨在指導注冊申請人對血液透析用水處理設備注冊申報資料的準備及撰寫,同時也為技術審評部門提供參考。本指導原則是對血液透析用水處理設備的一般要求,注冊申請人依據產品的具體特性確定其中內容是否適用。若不適用,要具體闡述理由及相應的科學依據,并依據產
本指導原則旨在幫助和指導注冊申請人對一次性使用腹部穿刺器注冊申報資料進行準備,以滿足技術審評的基本要求。同時有助于審評機構對該類產品進行科學規范的審評,提高審評工
附件:一次性使用醫用沖洗器產品注冊審查指導原則(2022年第41號).doc一次性使用醫用沖洗器產品注冊審查指導原則本指導原則旨在指導注冊申請人對一次性使用醫用
國家市場監督管理總局令 第47號 《醫療器械注冊與備案管理辦法》已經2021年7月22日市場監管總局第11次局務會議通過,現予公布,自2021年10月1日起施行。 附件: 醫療器械注冊與備案管
附件:重組膠原蛋白創面敷料注冊審查指導原則(2023年第16號).doc重組膠原蛋白創面敷料注冊審查指導原則本指導原則旨在指導注冊申請人準備及撰寫重組膠原蛋白創
國家藥監局器審中心關于發布影像型超聲診斷設備(第三類)注冊審查指導原則(2023年修訂版)的通告(2024年第29號)發布時間:2024-10-14為進一步規范
行業資訊
知識分享
八年
醫療器械服務經驗
聯系思途,免費獲得專屬《落地解決方案》及報價
咨詢相關問題或咨詢報價,可以直接與我們聯系
思途CRO——醫療器械注冊臨床第三方平臺
